工作查询

工作查询

指定查询条件,点“查询”进行工作查询。

注:
1.经办人可以查询自己经办的工作,包含查询权限的可查询该流程所有工作,系统管理员可以查询所有工作。
2.经办人可以查询自己经办的工作,拥有流程全部权限的人,以及监控人、管理人、编辑人、点评人和查询人可查询该流程所有工作。
3.工作查询按范围查询中“我委托的”查询条件,记录的是手动委托和自动委托的工作记录。
4.只有OA管理员才可以进行“管理人员删除”和“强制结束”操作。
5.选择具体的流程出现“导出Excel”和“导出ZIP”按钮。
6.在工作查询中也可以对单个流程或指定流程进行一键催办功能。

高级查询

在高级查询中,必须先选择流程,假如选择 “报销申请”,界面如下图:

选择查询模板,前提是在流程中心设置时建立了查询模板,如果在设置时没有建立模板,可以在此自定义一个模板。

可以在流程中心程基本属性中设置筛选条件进行查询,也可以将表单里的数据作为查询条件。

“分组字段”决定了查询列表的排列顺序,“统计字段”控制的是表格列的显示字段。

无论是在“办结工作”还是“工作查询”中看到的工作,点击【工作名称/文号】,可以预览/打印表单,如下图:

在预览时可以选择打印的内容,在上图选择“表单、公共附件、会签与点评、流程图、二维码、办理步骤”即可。如果本流程设置了打印模板,在打印的时候可以在左下角选择相应的模板进行打印,另外本页面可以导出Word文档,也可以导出html文件。

归档查询

用于对归档的流程中心数据进行查询。对归档数据进行查询时,可以根据归档日期进行查询,可以查看表单和流程图。

下面介绍下流程中心数据归档的操作方法。

数据归档

数据归档可以将选择的日期之前的数据进行归档,归档之后只能对这些数据进行查询操作。该功能主要针对数据量很大的,使用OA系统时间比较长的老用户。对历史数据进行归档,既能留作以后查看,同时又优化了当前系统的性能,提高速度。

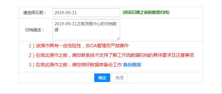
进入流程中心数据归档界面,点击【我要归档】按钮,弹出选择归档日期页面。

选择归档日期,根据您的需要进行归档描述,然后点击【确定】,会弹出如下界面:

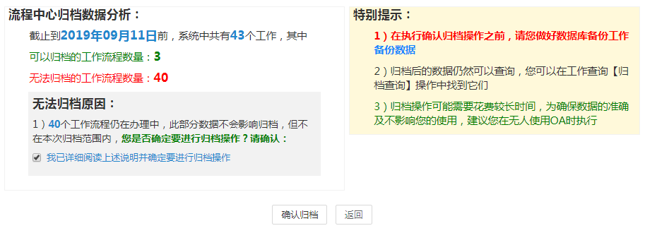
流程中心归档数据分析:对归档的数据进行分析,列出系统中工作总数(包括已经删除但是未销毁的工作)、可以归档的工作数量(包括已经删除但是未销毁的结束工作)、无法归档的工作数量(包括已经删除但是未销毁未结束的工作和父流程未结束的子流程工作)。

无法归档原因:对无法归档的数据,系统会列出原因。当可以归档的工作数量为0时,不能进行【确认归档】操作;父子流程中父流程工作未结束时,也不能够进行【确认归档】操作。

选中“我已详细阅读上述说明并确定要进行归档操作”前面的复选框后,会出现【确认归档】按钮。点击【确认归档】按钮,系统开始进行归档并给出进度提示。

如果归档失败,则可重新归档,点击【重新归档】按钮,则进入开始归档界面。

归档结束后可以导出日志文件。

注:对选择的日期只能归档一次,不能够重复归档。如果进行重复归档,系统会给出提示。

注:进行归档操作前,请务必做好数据备份。

results matching ""

    No results matching ""